小白如何快速自学掌握CAD制图?
CAD是一个比较普遍,应用面极为广泛的制图软件,全屋定制离不开cad软件,室内装修施工图离不开cad软件,建筑工程制图更离不开cad软件。知道CAD的人很多,懂点皮毛的也不少,但是如果要能独立的cad制图的就不那么多了。
Cad软件好不好学呢?当然好学,上小学二年级的侄子天天听我上课,现在都能自己绘图了。一个七十多岁的退休老工程师因为兴趣来跟我学,用了半个月的时间也学会了。这充分的说明学习cad并不难,只要你识字,无论老幼都能学会。
第1、 要找准学习cad的方向。学cad做什么用?或能从事什么工作?针对个人需求来定位方向。比如,做全屋定制的行业人员,那么你学习cad就非常简单了,没必要去学习建筑类的cad制图,只需要掌握cad软件的基本操作,知道全屋定制的材料属性、板材结构、定制尺寸即可。正常人学cad全屋定制三天左右的时间就可以试着独立画图了,就算慢一点,最多十天而已。如果十天还摸不着火候,那就要找一下你自己的原因了,不是智商问题,而是学习方法的问题。
第2、 学习不能过份的依赖于教学教程:不建议大家过份依赖教学教材,学习cad过份的依赖书本教程,那你就大错特错了,一个简单的东西三五个月甚至一年都学不会。单是软件的功能要编成书册的话,可比四大名著叠加起来都还厚,好比考驾照一般,驾驶知识、交通规则一寸厚的书都讲不完,可会开车的人无非就是知道打方向盘、踩刹车或加油而已。学习cad也是如此,cad软件只是一门工具而已,何必把学习搞得那么隆重呢?真正的学霸是在轻松但自觉的习惯或条件下成为学霸的;真正的歌手也是在轻松惬意的条件下呈现完美的歌声的;
第3、 勤于画图,坚持不懈!
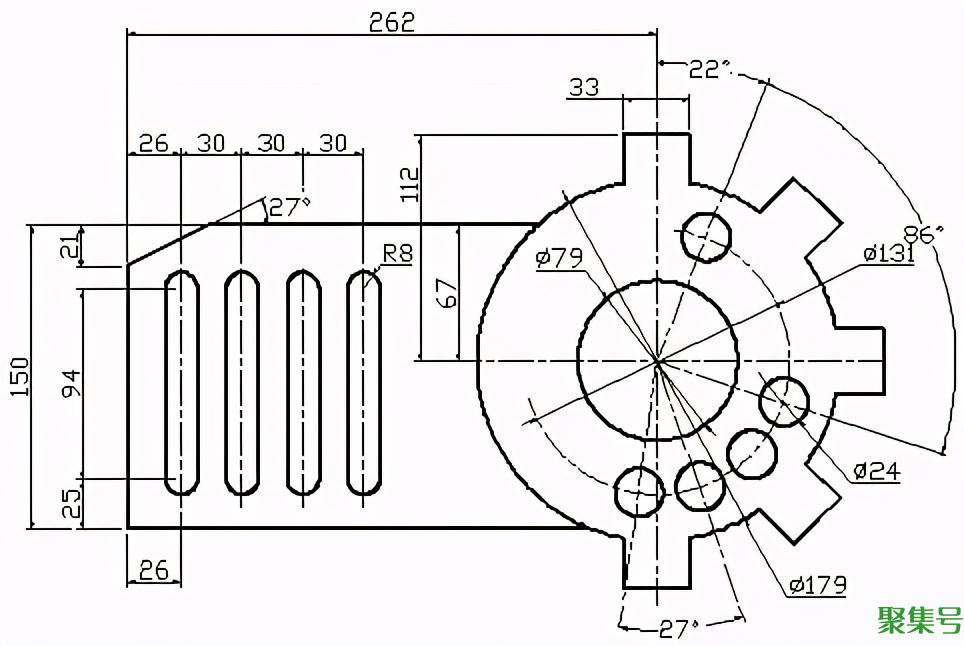
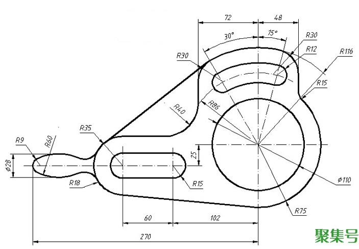
多找些练习图来练一下手,开始慢一点不要紧,一定要多练多画,绝不松懈。可以到网上去搜索很多的参考图来进行绘制。在这里,我免费为大家提供一些练习图:


































